- ALUSTA, KORI, OHJAAMO, LISÄPEILIT
- ASUINOSAN TARVIKKEET
- AUTOKEMIKAALIT
- HOBBY VARAOSAT
- ILMASTOINTILAITTEET
- JÄÄKAAPIT, UUNIT, KYLMÄLAUKUT, GRILLIT
- KULJETUS JA SÄILYTYS
- KUORMAVERKOT
- KÄYMÄLÄT JA TARVIKKEET
- LÄMMITYS, KAASUJÄRJESTELMÄ
- MARKIISIT JA TELTAT
- PERÄKÄRRY/TRAILERI/ALUSTA
- RETKEILY JA LEIRIYTYMINEN
- SÄHKÖ, ELEKTRONIIKKA JA VALAISTUS
- TELEVISIOT JA TARVIKKEET
- TURVALLISUUS
- VAUNUNSIIRTIMET, MOVERIT
- VESIJÄRJESTELMÄ
- OUTLET
- UUTUUDET
- TARJOUKSESSA
Jaa tuote
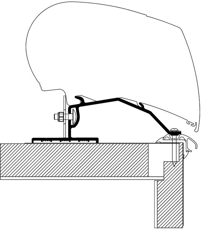
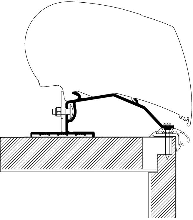
Thule kiinnityssarja kattomarkiisiin 4,5m



Sopii mm. Fendt (ei Brillant) Dethleffs, Trigano, LMC sovitteen 307064 kanssa. Kattomarkiisin adapteri. Caravan Roof Adapter - 4.50m
- Tuotekoodi: 306809
- Suositushinta: 427,00
- Tuote tilapäisesti loppuTuotteet lähetetään 5-30 arkipäivässä
- Nouto myymälästä0,00 €
Sopii mm. Fendt (ei Brillant) Dethleffs, Trigano, LMC sovitteen 307064 kanssa. Kattomarkiisin adapteri. Caravan Roof Adapter - 4.50m